Product Summary
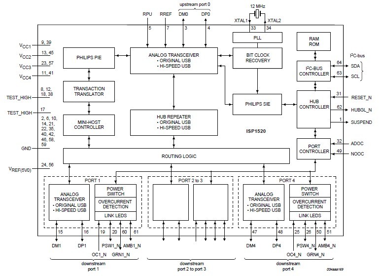
The ISP1520BD is a stand-alone Universal Serial Bus (USB) hub controller IC that complies with Universal Serial Bus Specification Rev. 2.0. It supports data transfer at high-speed (480 Mbit/s), full-speed (12 Mbit/s) and low-speed (1.5 Mbit/s). The applications of the ISP1520BD include: (1)Monitor hubs; (2)Docking stations for notebooks; (3)Internal hub for USB motherboards; (4)Hub for extending Easy PCs; (5)Hub boxes.
Parametrics
ISP1520BD absolute maxing ratings: (1)VCC supply voltage 3.3V: min=-0.5V, max=+4.6V; (2)VREF(5V0) input reference voltage 5.0V: min=-0.5V, max=+5.25V; (3)On the condition of 3.0V<VCC<3.6V, VI(5V0) input voltage on 5V buffers: min=-0.5V, max=+6.0V; (4)On the condition of 3.0V<VCC<3.6V, VI(3V3) input voltage on 3.3V buffers: min=-0.5V, max=+4.6V; (5)VO(3V3) output voltage on 3.3V buffers: min=-0.5V, max=+4.6V; (6)On the condition of VI<0 or VI>VCC: Ilu latch-up current: max=100mA; (7)Tstg storage temperature: min=-40℃, max=+125℃.
Features
ISP1520BD features: (1)Supports data transfer at high-speed (480 Mbit/s), full-speed (12 Mbit/s) and low-speed (1.5 Mbit/s); (2)Self-powered capability; (3)USB suspend mode support; (4)Configurable number of ports; (5)Internal power-on reset and low voltage reset circuit; (6)Port status indicators; (7)Integrates high performance USB interface device with hub handler, Philips Serial Interface Engine (SIE) and transceivers; (8)Built-in overcurrent detection circuit.
Diagrams

| Image | Part No | Mfg | Description | ![]() |
Pricing (USD) |
Quantity | ||||
|---|---|---|---|---|---|---|---|---|---|---|
![]() |
![]() ISP1520BD |
![]() |
![]() IC USB HUB CONTROLLER HS 64-LQFP |
![]() Data Sheet |
![]() Negotiable |
|
||||
![]() |
![]() ISP1520BD,518 |
![]() NXP Semiconductors |
![]() USB Interface IC USB2 4 PORT HUB |
![]() Data Sheet |
![]() Negotiable |
|
||||
![]() |
![]() ISP1520BD,551 |
![]() NXP Semiconductors |
![]() USB Interface IC USB2 4-PORT HUB CTRLR |
![]() Data Sheet |
![]() Negotiable |
|
||||
![]() |
![]() ISP1520BD-T |
![]() NXP Semiconductors |
![]() USB Interface IC USB2 4 PORT HUB |
![]() Data Sheet |
![]() Negotiable |
|
||||
![]() |
![]() ISP1520BDGA |
![]() |
![]() IC USB HUB CONTROLLER HS 64-LQFP |
![]() Data Sheet |
![]() Negotiable |
|
||||
![]() |
![]() ISP1520BDUM |
![]() |
![]() IC USB HUB CONTROLLER HS 64-LQFP |
![]() Data Sheet |
![]() Negotiable |
|
||||
(China (Mainland))










