Product Summary
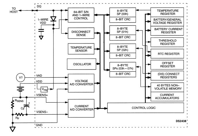
The DS2438Z+ is a Smart Battery Monitor. The DS2438Z+ provides several functions that are desirable to carry in a battery pack. Used in conjunction with a microcontroller in the host system, the DS2438Z+ provides a complete smart battery pack solution that is fully chemistry-independent. The applications of the DS2438Z+ are portable computers, portable/cellular phones, consumer electronics, and handheld instrumentation.
Parametrics
DS2438Z+ absolute maximum ratings: (1)Voltage on VDD and VAD, Relative to Ground:-0.3V to + 12V; (2)Voltage on VSENS+, VSENS-, Relative to Ground:<±300 mV; (3)Voltage on Any Pin Relative to Ground:-0.3V to + 7.0V; (4)Operating Temperature:-40℃ to +85℃; (5)Storage Temperature:-55℃ to +125℃.
Features
DS2438Z+ features: (1)Unique 1-Wire interface requires only one; (2)port pin for communication; (3)Provides unique 64-bit serial number to battery packs; (4)Eliminates thermistors by sensing battery temperature on-chip; (5)On-board A/D converter allows monitoring of battery voltage for end-of-charge and end-of-discharge determination; (6)On-board integrated current accumulator facilitates fuel gauging; (7)Elapsed time meter in binary format; (8)40-byte nonvolatile user memory available for storage of battery-specific data; (9)Operating range -40℃ to +85℃.
Diagrams

| Image | Part No | Mfg | Description | ![]() |
Pricing (USD) |
Quantity | ||||||||||||
|---|---|---|---|---|---|---|---|---|---|---|---|---|---|---|---|---|---|---|
![]() |
![]() DS2438Z+ |
![]() Maxim Integrated Products |
![]() Battery Management Smart Battery Monitor |
![]() Data Sheet |
![]()
|
|
||||||||||||
![]() |
![]() DS2438Z+T&R |
![]() Maxim Integrated Products |
![]() Battery Management Smart Battery Monitor |
![]() Data Sheet |
![]()
|
|
||||||||||||
(China (Mainland))










