Product Summary
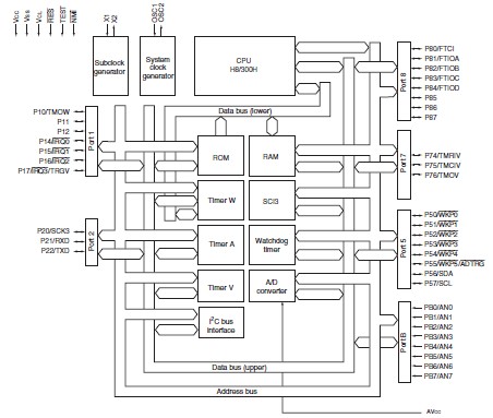
The HD64F3664FPV is a 16-bit single-chip microcomputer.
Parametrics
HD64F3664FPV absolute maximum ratings: (1)Power supply voltage VCC: –0.3 to +7.0 V; (2)Analog power supply voltage AVCC: –0.3 to +7.0 V; (3)Input voltage Ports other than Port B and X1 VIN –0.3 to VCC +0.3 V, Port B –0.3 to AVCC +0.3 V, X1 –0.3 to 4.3 V; (4)Operating temperature Topr: –20 to +75 °C; (5)Storage temperature Tstg: –55 to +125 °C.
Features
HD64F3664FPV features: (1)High-speed H8/300H central processing unit with an internal 16-bit architecture; (2)Upward-compatible with H8/300 CPU on an object level; (3)Sixteen 16-bit general registers; (4)62 basic instructions; (5)Various peripheral functions; (6)Timer A (can be used as a time base for a clock); (7)Timer V (8-bit timer); (8)Timer W (16-bit timer); (9)Watchdog timer; (10)SCI3 (Asynchronous or clocked synchronous serial communication interface); (11)I2C Bus Interface (conforms to the I2C bus interface format that is advocated by Philips Electronics); (12)10-bit A/D converter; (13)On-chip memory.
Diagrams

| Image | Part No | Mfg | Description | ![]() |
Pricing (USD) |
Quantity | ||||||||||||||||||||||
|---|---|---|---|---|---|---|---|---|---|---|---|---|---|---|---|---|---|---|---|---|---|---|---|---|---|---|---|---|
![]() |
![]() HD64F3664FPV |
![]() |
![]() IC H8/3664 MCU FLASH 32K 64LQFP |
![]() Data Sheet |
![]()
|
|
||||||||||||||||||||||
| Image | Part No | Mfg | Description | ![]() |
Pricing (USD) |
Quantity | ||||||||||||||||||||||
![]() |
![]() HD6412240TE13 |
![]() |
![]() IC H8S MPU ROMLESS 100TQFP |
![]() Data Sheet |
![]() Negotiable |
|
||||||||||||||||||||||
![]() |
![]() HD6412322RVF25 |
![]() |
![]() IC H8S MCU ROMLESS 128-QFP |
![]() Data Sheet |
![]() Negotiable |
|
||||||||||||||||||||||
![]() |
![]() HD6412322RVFBL25 |
![]() |
![]() IC H8S MCU ROMLESS 128-QFP |
![]() Data Sheet |
![]() Negotiable |
|
||||||||||||||||||||||
![]() |
![]() HD6412332VFCBL25 |
![]() Renesas Technology America |
![]() IC H8S MCU ROMLESS 144-QFP |
![]() Data Sheet |
![]() Negotiable |
|
||||||||||||||||||||||
![]() |
![]() HD6412350F20 |
![]() |
![]() IC H8S MPU ROMLESS 5V 128QFP |
![]() Data Sheet |
![]() Negotiable |
|
||||||||||||||||||||||
![]() |
![]() HD6412350F20V |
![]() |
![]() IC H8S MPU ROMLESS 5V 128QFP |
![]() Data Sheet |
![]() Negotiable |
|
||||||||||||||||||||||
(China (Mainland))












