Product Summary
The HX6096NL is a kind of Gigabit Transfomer Module.
Parametrics
HX6096NL absolute maximum ratings: (1)Turns Ratio: Tx: 1:1; Rx: 1:1; (2)Insertion Loss (dB MAX): 0.1 MHz: -1.1; 100 MHz: -1.0; 125 MHz: -2.0; (3)Return Loss (2out = 100 Ω ±15%): 30 MHz: -18; 60 MHz: -14.4; 80 MHz: -12; 100 MHz: -10; (4)Crosstalk (adjacent channels dB MIN): 30 MHz: -41; 60 MHz: -37; 100 MHZ: -33; (5)Hipot ( Vrms MIN): 1500.
Features
HX6096NL features: (1)RoHS reflow temperature rating 245℃; (2)Meets IEEE 802.3 at specification.
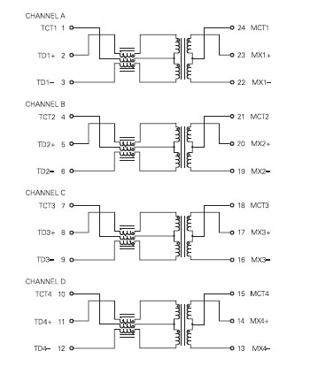
Diagrams

![]() |
![]() HX6001 |
![]() Other |
![]() |
![]() Data Sheet |
![]() Negotiable |
|
||||
(China (Mainland))








