Product Summary
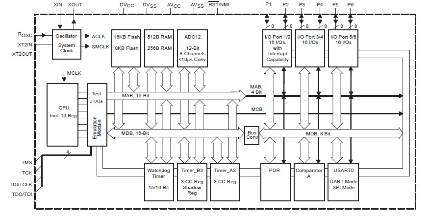
The MSP430F133IPMR is an ultralow-power microcontroller. It consists of several devices featuring different sets of peripherals targeted for various applications. The architecture, combined with five low power modes is optimized to achieve extended battery life in portable measurement applications. The MSP430F133IPMR features a powerful 16-bit RISC CPU, 16-bit registers, and constant generators that attribute to maximum code efficiency. The digitally controlled oscillator (DCO) allows wake-up from low-power modes to active mode in less than 6 μs. The MSP430F133IPMR is a microcontroller configuration with two built-in 16-bit timers, a fast 12-bit A/D converter, one or two universal serial synchronous/asynchronous communication interfaces (USART), and 48 I/O pins. Typical applications of the MSP430F133IPMR include sensor systems that capture analog signals, convert them to digital values, and process and transmit the data to a host system.
Parametrics
MSP430F133IPMR absolute maximum ratings: (1)Voltage applied at VCC to VSS: -0.3 V to + 4.1 V; (2)Voltage applied to any pin: -0.3 V to VCC+0.3 V; (3)Diode current at any device terminal: ±2 mA; (4)Storage temperature (unprogrammed device): -55℃ to 150℃; (5)Storage temperature (programmed device): -40℃ to 85℃.
Features
MSP430F133IPMR features: (1)Low Supply-Voltage Range, 1.8 V to 3.6 V; (2)Ultralow-Power Consumption: Active Mode: 280 μA at 1 MHz, 2.2V; Standby Mode: 1.6 μA; off Mode (RAM Retention): 0.1 μA; (3)Five Power-Saving Modes; (4)Wake-Up From Standby Mode in less than 6 μs; (5)16-Bit RISC Architecture, 125-ns Instruction Cycle Time; (6)12-Bit A/D Converter With Internal Reference, Sample-and-Hold and Autoscan Feature; (7)16-Bit Timer_B With Seven Capture/Compare-With-Shadow Registers; (8)16-Bit Timer_A With Three Capture/Compare Registers; (9)On-Chip Comparator; (10)Serial Onboard Programming, No External Programming Voltage Needed Programmable Code Protection by Security Fuse; (11)Serial Communication Interface (USART), Functions as Asynchronous UART or Synchronous SPI Interface: One USART (USART0)Devices.
Diagrams

| Image | Part No | Mfg | Description | ![]() |
Pricing (USD) |
Quantity | ||||||||||||
|---|---|---|---|---|---|---|---|---|---|---|---|---|---|---|---|---|---|---|
![]() |
![]() MSP430F133IPMR |
![]() Texas Instruments |
![]() 16-bit Microcontrollers (MCU) 8kB Flash 256B RAM 12bit ADC + 1 USART |
![]() Data Sheet |
![]()
|
|
||||||||||||
| Image | Part No | Mfg | Description | ![]() |
Pricing (USD) |
Quantity | ||||||||||||
![]() |
![]() MSP4120 |
![]() Other |
![]() |
![]() Data Sheet |
![]() Negotiable |
|
||||||||||||
![]() |
![]() MSP4200 |
![]() Other |
![]() |
![]() Data Sheet |
![]() Negotiable |
|
||||||||||||
![]() |
![]() MSP430×11× |
![]() Other |
![]() |
![]() Data Sheet |
![]() Negotiable |
|
||||||||||||
![]() |
![]() MSP430×11×2 |
![]() Other |
![]() |
![]() Data Sheet |
![]() Negotiable |
|
||||||||||||
![]() |
![]() MSP430×12×2 |
![]() Other |
![]() |
![]() Data Sheet |
![]() Negotiable |
|
||||||||||||
![]() |
![]() MSP430×21×1 |
![]() Other |
![]() |
![]() Data Sheet |
![]() Negotiable |
|
||||||||||||
(China (Mainland))










