Product Summary
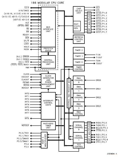
The QU80C188EC20 is a 16-bit high-integration embedded processor. It uses the latest high density CHMOS technology to integrate several of the most common system peripherals with an enhanced 8086 CPU core to create a powerful system on a single monolithic silicon die.
Parametrics
Absolute maximum ratings: (1)Storage Temperature:-65℃ to +150℃; (2)Case Temperature Under Bias:-65℃ to +100℃; (3)Supply Voltage with Respect to VSS:-0.5V to +6.5V; (4)Voltage on Other Pins with Respect to VSS:-0.5V to VCC+0.5V.
Features
Features: (1)Low-Power, Static, Enhanced 8086 CPU Core; (2)Two Independent DMA Supported UARTs, each with an Integral Baud Rate Generator; (3)Four Independent DMA Channels; (4)22 Multiplexed I/O Port Pins; (5)Two 8259A Compatible Programmable Interrupt Controllers; (6)Three Programmable 16-Bit Timer/Counters; (7)32-Bit Watchdog Timer; (8)Ten Programmable Chip Selects with Integral Wait-State Generator; (9)Memory Refresh Control Unit; (10)Power Management Unit; (11)On-Chip Oscillator; (12)System Level Testing Support(ONCE Mode).
Diagrams

| Image | Part No | Mfg | Description | ![]() |
Pricing (USD) |
Quantity | ||||
|---|---|---|---|---|---|---|---|---|---|---|
![]() |
![]() QU80C188EC20 |
![]() |
![]() IC MPU 16-BIT 5V 20MHZ 100-QFP |
![]() Data Sheet |
![]() Negotiable |
|
||||
| Image | Part No | Mfg | Description | ![]() |
Pricing (USD) |
Quantity | ||||
![]() |
![]() QU80386EXTB25 |
![]() |
![]() IC INT PROC 3.3V 25MHZ 132QFP |
![]() Data Sheet |
![]() Negotiable |
|
||||
![]() |
![]() QU80386EXTC25 |
![]() |
![]() IC INT PROC 5V 25MHZ 132QFP |
![]() Data Sheet |
![]() Negotiable |
|
||||
![]() |
![]() QU80386EXTC33 |
![]() |
![]() IC INT PROC 5V 33MHZ 132QFP |
![]() Data Sheet |
![]() Negotiable |
|
||||
![]() |
![]() QU80386SXTA25 |
![]() |
![]() IC MPU 32-BIT 5V 25MHZ 100-QFP |
![]() Data Sheet |
![]() Negotiable |
|
||||
![]() |
![]() QU80386SXTA33 |
![]() |
![]() IC MPU 32-BIT 5V 33MHZ 100-QFP |
![]() Data Sheet |
![]() Negotiable |
|
||||
![]() |
![]() QU80386SXTA40 |
![]() |
![]() IC MPU 32-BIT 5V 40MHZ 100-QFP |
![]() Data Sheet |
![]() Negotiable |
|
||||
(China (Mainland))










