Product Summary
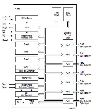
The SAB-C515-LN is a 8-Bit CMOS Microcontroller.
Parametrics
Absolute maximum ratings: (1)Ambient temperature under bias (TA): – 40 to 110 ℃; (2)Storage temperature (Tstg): – 65 to 150 ℃; (3)Voltage on VCC pins with respect to ground (VSS): – 0.5 V to 6.5 V; (4)Voltage on any pin with respect to ground (VSS): – 0.5 V to VCC +0.5 V; (5)Input current on any pin during overload condition: – 10 mA to 10 mA; (6)Absolute sum of all input currents during overload condition: I 100 mA I; (7)Power dissipation: TBD.
Features
Features: (1)8-bit A/D converter; (2)8 multiplexed analog inputs: Programmable reference voltages; (3)16-bit watchdog timer; (4)Power saving modes: Idle mode, Slow down mode (can be combined with idle mode), Software power-down mode; (5)12 interrupt sources (7 external, 5 internal) selectable at four priority levels; (6)On-chip emulation support logic (Enhanced Hooks Technology TM); (7)ALE switch-off capability; (8)P-MQFP-80-1 package.
Diagrams

![]() |
![]() SAB-C161CS-LF CA |
![]() Infineon Technologies |
![]() 16-bit Microcontrollers (MCU) 16BIT ROM/ROMLESS |
![]() Data Sheet |
![]()
|
|
||||||||||
![]() |
![]() SAB-C161JC-LF CA |
![]() Infineon Technologies |
![]() 16-bit Microcontrollers (MCU) 16BIT ROM/ROMLESS |
![]() Data Sheet |
![]() Negotiable |
|
||||||||||
![]() |
![]() SAB-C161JI-LF CA |
![]() Infineon Technologies |
![]() 16-bit Microcontrollers (MCU) 16BIT ROM/ROMLESS |
![]() Data Sheet |
![]() Negotiable |
|
||||||||||
![]() |
![]() SAB-C161K-LM HA |
![]() Infineon Technologies |
![]() 16-bit Microcontrollers (MCU) 16-Bit SNGL-Chip 5V 20MHz ROM less |
![]() Data Sheet |
![]()
|
|
||||||||||
![]() |
![]() SAB-C161O-L25M HA |
![]() Infineon Technologies |
![]() 16-bit Microcontrollers (MCU) 16-Bit SNGL-Chip Microcontroller |
![]() Data Sheet |
![]()
|
|
||||||||||
![]() |
![]() SAB-C161O-LM 3V HA |
![]() Infineon Technologies |
![]() 16-bit Microcontrollers (MCU) 16-Bit SNGL-Chip 3.3V 20MHz ROM less |
![]() Data Sheet |
![]()
|
|
||||||||||
(China (Mainland))








